家电行业在线营销整合理念
|贾晓兰|2006-06-19
p>
p>
随着WTO的进程的加快,服务、贸易、金融、IT领域将进一步开放,家电产品竞争日益加剧,如果固守以往强大的品牌效应,而不在服务、个性化和质量上进行深化,企业将会在特定领域的竞争中失去优势。相比之下,国外家电公司在客户资源、销售渠道方面更胜一筹。因此,转变经营理念和完善营销环节是关系企业继续参与竞争成败的关键。另一方面,现代家电行业的竞争和发展已开始突破传统业务的框架,正处于一个以客户为导向的变革时代,注意收集客户信息,并进行充分的数据挖掘、调整和创新服务项目,设计出高附加值、个性化的家电产品,为客户提供完善的售后服务无疑是家电行业进一步深化市场的核心所在。
由于在线营销是以了解客户行为为基础,相对于传统营销,它在进行市场活动、市场调查、项目或产品推广时更具有针对性,提高成功率,降低成本。对于企业,在线营销的主要意义在于:
(1)创造新的营销机会:由于客户往往对于企业的产品内容、种类、使用等缺乏全面了解。客户很难将家庭状况与企业的全线产品联系起来,主动购买成套家电就勉为其难。通过客户信息的采集和对客户自身的整体分析,结合孩儿整体市场促销策略,帮客户量身定制适合他们的产品方案就变得比较可行,从而最大限度地挖掘客户的潜在需求。这一方面使得客户获得全面的服务,另一方面必然会带来的企业新的业务增长点;
(2)提高客户满意度:通过完善的客户关系管理体系,企业能充分的利用其"客户资产",不断进行客户信息的分析和客户服务策略的改善,为客户提供优质服务,实现"客户资产"的增值。当企业为客户提供完善的服务时,才可以保住原有客户群。另外,电话互动营销实现了营销的集中管理,可以有效控制营销人员的话务质量;
(3) 拓展了销售渠道、范围以及深度:新的在线营销环节的完善,将会为企业在原有系统上增加灵活快捷的中间环节。通过讯达赛源的电话销售中成熟的沟通技巧以及专业分析人员的分析报告,可以使企业获得对市场的快速反应机制,使企业的系统流程上更加灵活且有效。同时,使用电话呼出销售模式则能够协助企业中国在更大的区域内更为有效和高效的实现对潜在客户的把握和获取更有价值的信息。
(4) 通过呼叫中心的在线营销手段能够配合企业现有的合作伙伴和分销渠道增加对于中国市场的销售针对性,为企业长期的渠道扁平化策略打下良好的基础。
在线营销的内容
在线营销中心主要以呼出电话的形式提供下列服务:
- 面向消费者提供家电产品直接销售
- 处理销售订单及跟踪客户需求
- 提供来自目标客户的家电产品的咨询
- 将客户方的无法直接解决的需求及问题反馈给企业作为产品设计或市场信息
- 将大客户信息进行处理
- 客户数据积累和更新
服务方式
- 上门人员发放档案卡收集客户潜在需求
- 呼出电话进行潜在客户在线销售
- 接受网上订单
- 满意度跟踪
- 大客户挖掘
- 新品发布
- 市场营销活动的发布
在线营销解决方案拓扑图
来自于公网的电话经过交换机处理,经过坐席人员判断是否是销售线索?然后转接到相关的销售代表处进行接听,在线营销,同时营销人员在空闲时间通过客户数据库进行外呼,挖掘商机进行销售。
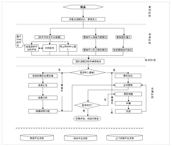
企业在线营销项目前期试运行阶段实施流程
.jpg)
这个营销项目需要企业整体平台的支持。
责编:admin
转载请注明来源:家电行业在线营销整合理念
相关文章
- 销售火爆 志高客服全力保障客户需求
- 什么是主动营销?
- 美的空调服务“破冰”:引领行业标准升级
- 从恋爱兵法到幸福法则 美的提升消费者服务
- 电子邮件营销效果的评估指标体系设计
- 我国空调行业三大服务标准于7月1日起正式实施
- 延保服务诱人 能否让家电“老有所养”
- 启动“以旧换新”知识普及国美呼叫中心全程服务











